Als gamer heb je ongetwijfeld momenten gehad waarop je even geen idee hebt wat je moet doen: waar je heen moet, hoe je een baas schade toebrengt of hoe je een puzzel oplost. Vaak grijpen we dan naar het internet voor hulp, bijvoorbeeld via een walkthrough op YouTube. Sony denkt daar nu iets op gevonden te hebben: het bedrijf heeft namelijk een patent aangevraagd voor zogeheten ‘Ghost AI’.
Ghost Ai kan jouw game overnemen als je vastzit
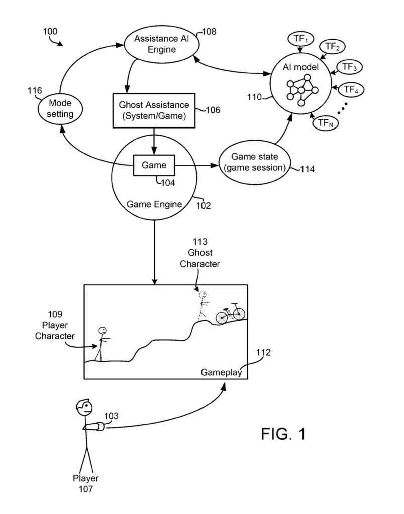
In patentdocumenten van Sony Interactive Entertainment (PlayStation) staat beschreven hoe een AI-tool je kan helpen als je vast komt te zitten in een videogame. De AI Ghost kan spelers laten zien hoe hij of zij verder moet komen, maar als het echt niet lukt, kan de AI de volledige controle overnemen om bijvoorbeeld langs een obstakel te komen. In de documenten wordt specifiek Guide Mode (helpen) en Complete Mode (volledig oplossen) genoemd. Het patent omschrijft dat de AI op iedere moment ingeschakeld kan worden. Daardoor kan Ghost AI, de speler op ieder moment helpen met van alles. Denk aan puzzels, voltooien van levels, het verslaan van een uitdagende baas in bijvoorbeeld Elden Ring en meer.
De AI zou getraind zijn door middel van gameplay clips van andere spelers op YouTube, Twitch en het PlayStation Netwerk. De AI analyseert deze beelden om vervolgens de oplossing toe te passen bij het spel van de speler. Sony’s patent gaat verder dan bestaande AI-oplossingen zoals de assistent feature in 2D Super Mario Bros. games. Sony omschrijft voorgaande oplossingen als volgt:
“Eerdere oplossingen maakten gebruik van een personage dat een gebruiker kon volgen,” schrijft Sony in het patent. “Dit personage was echter meestal slechts een grafische weergave of een outline van een eerdere speler, die niet inspeelt op de specifieke situatie van de huidige speler. Daardoor biedt het weinig nuttige real-time assistentie. Het personage weet niet wat de speler daadwerkelijk probeert te bereiken en handelt alleen op basis van een algemene situatie in de game.”
(Tekst gaat verder onder de afbeelding)

Op dit moment alleen een concept
De Ghost AI van Sony moet in staat zijn om de gameplay van een speler goed te volgen waardoor het op ieder moment tips kan geven. Als je bijvoorbeeld in een online game probeert om de meeste kills te maken, kan Ghost AI je tips geven over wat je wel of niet moet doen. De AI moet dus in staat zijn om de speler te helpen met persoonlijke doelen.
Ghost AI is op dit moment slechts een concept van Sony Interactive Entertainment waarvoor een patent is aangevraagd. Of het daadwerkelijk wordt ontwikkeld, wanneer het verschijnt en hoe geavanceerd het zal zijn, moet nog blijken.

Zie jij dit als een handige feature, of meer als een soort cheat om moeilijke delen over te slaan? Deel het artikel gerust met andere gamers via de knoppen bovenin.
